Обратный клапан двухстворчатый межфланцевый REON тип RSV32-T
Описание
Обратный клапан межфланцевый предназначен для защиты трубопровода и установленного оборудования от обратного потока рабочей среды.Область применения
Обратный клапан применяется в системах отопления и холодного, горячего водоснабжения. Обратный клапан не предназначен для использования в качестве запорной арматуры. Класс герметичности – В по ГОСТ 9544-2015. Это означает, что при использовании клапана в качестве запорного при опрессовке потеря давления при отключении насоса неизбежна.Другие преимущества изделия:
- Надежен при эксплуатации и не требует постоянного обслуживания.
- Обратный клапан изготавливается из самых прочных металлов – чугуна и нержавеющей стали, а это значит, что узел устойчив к образованию коррозии и будет служить ни один год. Также изнутри корпус покрыт эпоксидной краской, а створки покрыты никелем, который предоставляет дополнительную защиту.
- Небольшой габаритный размер и это позволяет уставить его в почти в любой узел.
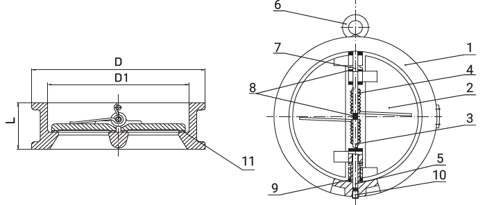
Конструкция обратного клапана межфланцевого
Двухстворчатый клапан состоит из корпуса, пластин, пружины, штока и уплотнения. Корпус клапана изготавливается из серого чугуна, запорные пластины – из высокопрочного чугуна, покрытого никелем, шток клапана и пружина – из нержавеющей стали, седловое уплотнение из EPDM.
Если поток в трубе движется в прямом направлении, запорная деталь отжимается от седла и пропускает рабочую среду, никак не влияя на сам поток. Если появляется обратный ток, жидкость автоматически придавливает пластины к седлу и блокирует поток рабочей среды.
Практическое применение
- используются в обвязке подпиточных насосов
- встраиваются в узлы, состоящие из нескольких насосов, чтобы исключить их взаимовлияние при одновременном включении
- интегрируются в блоки фильтрации, встраиваемые в реверсивные водопроводы для недопущения обратного тока жидкости
Как заказать обратные клапаны межфланцевые?
Обратные двустворчатые клапаны всегда в достаточном количестве поддерживаются на складе, мы осуществляем бесплатную доставку до терминалов транспортных компаний. Любые вопросы можно задать нашим менеджерам по номеру телефона отдела продаж +7 (3822) 908-388 или отправьте заявку по средствам электронной почты.
Технические характеристики
| 1 | Номинальный диаметр, DN | 32-800 мм |
| 2 | Максимальное давление, PN | 16 бар |
| 3 | Диапазон допустимых температур | От -20˚С до +120˚С |
| 4 | Рабочая температура, Траб | От -10°С до +100°С |
| 5 | Максимальная температура, Тмах | +120°С (кратковременно) |
| 6 | Присоединение | Межфланцевое |
| 7 | Класс герметичности | В (по ГОСТ 9544-2015) |
Габаритные и присоединительные размеры
| Артикул | DN | Размеры, мм | Масса, кг | ||
| D1 | D | L | |||
| 032RSV32-Т | 32 | 58 | 92 | 43 | 0,95 |
| 040RSV32-T | 40 | 58 | 92 | 43 | 1,2 |
|
050RSV32-T |
50 | 65 | 107 | 43 | 1,4 |
| 065RSV32-T | 65 | 80 | 127 | 46 | 1,8 |
| 080RSV32-T | 80 | 94 | 142 | 64 | 2,9 |
| 100RSV32-T | 100 | 117 | 162 | 64 | 4,35 |
| 125RSV32-T | 125 | 145 | 192 | 70 | 5,6 |
| 150RSV32-T | 150 | 170 | 218 | 76 | 7,5 |
| 200RSV32-T | 200 | 224 | 273 | 89 | 13,3 |
| 250RSV32-T | 250 | 265 | 328 | 114 | 22,5 |
| 300RSV32-T | 300 | 310 | 378 | 114 | 30,5 |
| 350RSV32-T | 350 | 360 | 438 | 127 | 48,0 |
| 400RSV32-T | 400 | 410 | 488 | 140 | 72,0 |
| 450RSV32-T | 450 | 450 | 538 | 152 | 102,0 |
| 500RSV32-T | 500 | 505 | 592 | 152 | 125,0 |
| 600RSV32-T | 600 | 624 | 695 | 178 |
165,0 |
| 700RSV32-T | 700 | 720 | 809 | 229 | 225,0 |
| 800RSV32-T | 800 | 825 | 916 |
241 |
328,0 |
Материалы конструкции

| 1 | Корпус | Серый чугун GG25 |
| 2 | Створки клапана | Высокопрочный чугун GGG40, покрытый никелем |
| 3 | Шток | Нержавеющая сталь AISI304 |
| 4 | Пружина | Нержавеющая сталь AISI304 |
| 5 | Шарнирный штифт | Нержавеющая сталь AISI416 |
| 6 | Рым-болт | Углеродистая сталь (для DN200-600) |
| 7 | Стопорный штифт | Нержавеющая сталь AISI416 |
| 8 | Уплотнение пружины | PTFE |
| 5 | Уплотнение корпуса | PTFE |
| 6 | Заглушка | Нержавеющая сталь AISI201 |
| 7 | Седловое уплотнение | EPDM |
Диаграмма зависимости «Температура-Давление»
Kv (м³/ч) обратного клапана
| DN | 32 | 40 | 50 | 65 | 80 | 100 | 125 | 150 | 200 | 250 | 300 | 350 | 400 | 450 | 500 | 600 | 700 | 800 |
| Kv | 29 | 34 | 35 | 76 | 88 | 238 | 465 | 658 | 930 | 2043 | 3178 | 4313 | 6810 | 9080 | 10021 | 22000 | 37000 | 59000 |
Условия монтажа
- Не допускается использовать клапаны обратные на рабочие параметры, отличные от указанных в технической документации.
- Перед началом эксплуатации трубопровод необходимо продуть для удаления окалины и грязи.
- Соосность трубопровода и расстояние между фланцами должны быть в пределах 3-5 мм от идеальных, чтобы в процессе монтажа на клапан не приходилась чрезмерная механическая нагрузка.
- Клапан устанавливается на трубопровод так, чтобы стрелка на его корпусе совпадала с направлением движения среды, и, для обеспечения равномерного износа при эксплуатации, не ближе 3-5 диаметров после поворота трубы.
- Клапан может устанавливаться на вертикальном, наклонном и на горизонтальном участках трубопровода, т.е. в любом положении.
- Предпочтительное монтажное положение на наклонном или вертикальном трубопроводе при направлении движения воды снизу вверх. На горизонтальном участке желательно устанавливать клапан таким образом, чтобы шток был параллелен земле (не вертикален).

- Требуется обеспечить достаточное пространство вокруг обратного клапана для будущих работ по техническому обслуживанию.
- Поток среды должен быть направлен по стрелке на корпусе клапана.
- Перед монтажом необходимо тщательно очистить уплотнительные поверхности обратного клапана и присоединительных фланцев.
- Затяжку крепежных болтов необходимо осуществлять равномерно.
- После запуска системы убедитесь в отсутствии протечек в местах присоединения.
- Не забудьте проверить на наличие утечек после не- скольких часов работы.
Условия эксплуатации
- Клапаны обратные REON не требуют постоянного ухода.
- Периодически осматривайте клапан на предмет протечки среды.
- Проверку клапана можно провести при замене трубопроводов.
Внимание!
- Не прикасайтесь к работающему изделию в связи с тем, что возможен нагрев поверхностей.
- Перед началом технического обслуживания или демонтажем убедитесь, что изделие не находится под давлением и не имеет высокую температуру.
- Не удаляйте с изделия шильдик с маркировкой.
- Проверять обратные клапаны необходимо регулярно, особенно работающие не постоянно, на наличие утечек через уплотнения.
Условия транспортировки и хранения
- Хранение и транспортировка должна осуществляться без ударных нагрузок при температуре -40…+65 °С.
- Не допускается попадание посторонних предметов внутрь или падений изделия.
- Проверку клапана можно провести при замене трубопроводов.
- Изделие должно храниться в незагрязненном помещении и быть защищено от воздействия атмосферных осадков.
- При транспортировке корпус изделия должен быть защищен от повреждений.
Гарантийные обязательства
Гарантийный срок при соблюдении потребителем правил транспортировки, хранения, монтажа и эксплуатации устанавливается 12 месяцев с момента ввода в эксплуатацию, но не более 18 месяцев с момента продажи. Все вопросы, связанные с гарантийными обязательствами, обеспечивает предприятие-продавец.
|
Тип
|
RSV32-Т |
|
DN
|
32-800 |
|
PN
|
16 |
|
Т раб.
|
От -10°С до +100°С |
|
Т макс.
|
+120°С (кратковременно) |
Задать вопрос
| Новосибирск | В пути: 9 шт. Ожидается: 15.06.2026 шт. |

